| Home :: Mikrotik IOT products |
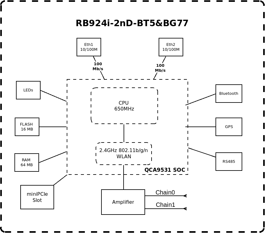
(RB924i-2nD-BT5&BG77) KNOT with RouterOS L4 licenseThe newest addition to the MikroTik IoT product family – KNOT – is a truly universal device with exceptional connectivity options and protocol support. It is an IoT Gateway that uses Narrow Band and CAT-M technology. Because of the low cost, low bandwidth cellular connection, it is supported by countless mobile operators around the globe.KNOT can monitor onboard GPIOs, convert Modbus protocol to TCP, and even forward Bluetooth packets to TCP/IP network via HTTPS and MQTT. You can use the KNOT as a TCP bridge from wired Modbus sensors to send readings to a Modbus server. Yes, the KNOT brings wireless connectivity to wired sensors, such as electricity meters and relays. Īsa rokasgrāmata User Manuals It could be used as a backup connection for the Ethernet or as a management channel for your network. NB/CAT-M monthly plan is much cheaper than LTE. Why spend extra money on bandwidth you don’t need? For example, you can manage a KNOT-powered vending machine with temperature and liquid sensors with only a few megabytes per day! KNOT features so many protocol support and connectivity options: 2.4 GHz wireless, Bluetooth, 2x 100 Mbps Ethernet ports with PoE-in and PoE-out, Micro-USB. Maximum convenience at the lowest cost! With the Bluetooth interface, you can use the KNOT for asset tracking and telemetry based on Bluetooth advertisement packets. KNOT supports any BLE tag that sends advertisement data. iBeacon, Eddystone or any other format. It has powerful filters for forwarding only relevant packets and ignoring others. KNOT is a great tool for most outdoor cabinet IoT applications as well. It comes with a DIN rail mount that allows easy integration with all kinds of setups: from agriculture and asset tracking to cold chain monitoring, industrial manufacturing, and so on. Bring flexible low-cost connectivity to the most remote or tricky areas with the MikroTik KNOT! |
Price:
€ 80.50
+ VAT
In stock 24 |
Products
ServerSaleMikrotik CCR (Cloud Core Router)Mikrotik CRS (Cloud Router Switch)Mikrotik CSS (Cloud Smart Switch)MikroTik Routers (no wireless)Mikrotik indoor wireless devicesWIRELESS SYSTEMS 60GhzMikrotik Outdoor Integrated AntennasMikrotik LTE 4G 5G devicesMikrotik IOT productsAccessoriesPower suppliesMikrotik SFP modulesRouterOS licencesTAKEX security systemsOptic PatchcordsEthernet patch cablesMiniPCI, PCI cardsmANT antennasSwitchRouterBOARDS (OEM)Mikrotik Technical Support 


Mounting dimensions.pdf
